济南纵驰测控设备有限公司 专业生产各种复合材料夹具,电子万能试验机以及配件济南纵驰测控设备有限公司

热搜关键词: ASTMD5379-V型切口剪切夹具-复合材料V型缺口剪切试验夹具(图文)ASTMD2344复合材料短梁强度试验夹具-聚合物基及层压材料短梁剪切试夹具(图文)复合材料薄板面内剪切试验夹具-GBT 28889-2012复合材料面内剪切性能试验夹具(图文)GB/T 28889-2012面内剪切夹具-聚合物基/复合材料面内剪切性能试验夹具(图文)ASTMD3846增强塑料的平面剪切强度试验夹具(图文)

prevnext

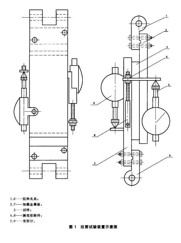
ASTM-C273M-2016/GB1455-2005/夹层芯子剪切性能试验夹具拉剪(图文)

所属分类:夹层结构试验夹具
浏览次数:
在线咨询:立即咨询
订购热线:15562670348
  • 产品介绍

夹层芯子剪切性能试验夹具适用于夹层结构或芯子式样测定芯子的剪切强度和剪切弹性模量.

联系我们Contact Us

孙经理:15562670348

宋经理:15562638513

邮箱:942138324@qq.com

销售部地址:济南市槐荫区新沙工业园二街二号
工厂地址:济南市槐荫区新沙工业园二街二号